当前位置:首页 - 技术支持

RAU9005交叉滚子轴承替代CRBT905A交叉滚子轴承,这些你知道吗?

时间:2026-04-14 16:32:15 点击:137 次 来源:洛阳普瑞斯轴承

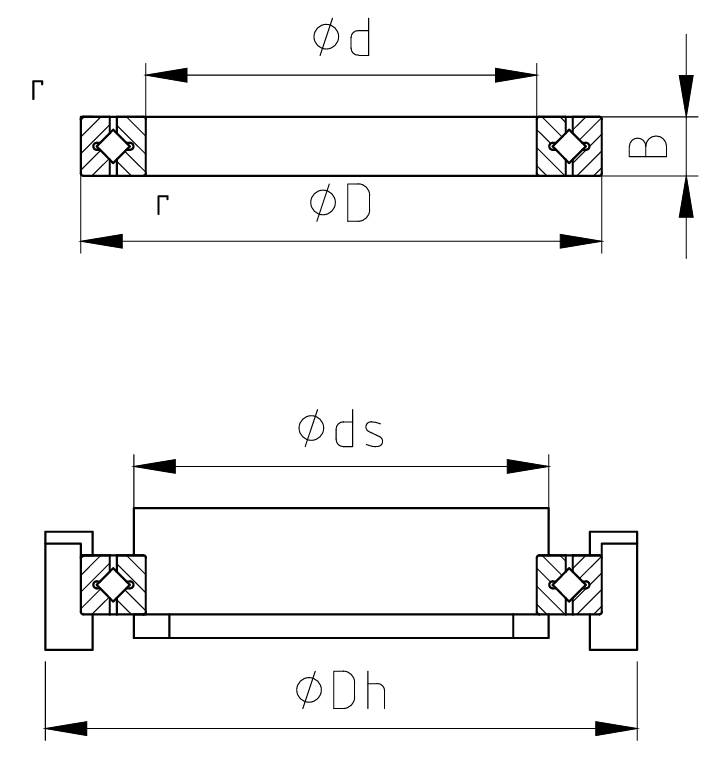
RAU9005 交叉滚子轴承 RAU9005C0P5 尺寸规格介绍RAU9005交叉滚子轴承是洛阳普瑞斯轴承技术有限公司可替代的产品型号。

RAU9005轴承的外形尺寸为内径90mm、外径101mm、高度5mm,内圈和外圈均可为整体结构,此系列是将轴向和径向截面尺寸减小到极限(小截面仅5毫米)的超薄结构,适合应用于要求重量轻、结构紧凑的旋转部位,例如协作机器人,服务机器人、特种机器人和对位平台等。

RAU9005交叉滚子轴承的尺寸规格性能表如下:

洛阳普瑞斯轴承技术有限公司,深耕交叉滚子轴承制造领域,以高精度P4级产品为核心,覆盖Φ3~Φ5000mm全尺寸系列。采用90°交叉滚子排列工艺,实现多向负载均衡,刚性提升,广泛应用于工业机器人、人形机器人、医疗设备及航空航天。凭借表面强化技术与预润滑设计,产品摩擦低、寿命长,助力客户降本增效,已成为国产精密轴承领军品牌

洛阳普瑞斯轴承技术有限公司,深耕交叉滚子轴承制造领域,以高精度P4级产品为核心,覆盖Φ3~Φ5000mm全尺寸系列。采用90°交叉滚子排列工艺,实现多向负载均衡,刚性提升,广泛应用于工业机器人、人形机器人、医疗设备及航空航天。凭借表面强化技术与预润滑设计,产品摩擦低、寿命长,助力客户降本增效,已成为国产精密轴承领军品牌


有意可联系我们,电话:18568992278