当前位置:首页 - 技术支持

RAU1005代替HRAU1005C0P5,CRBT105A,交叉滚子轴承可以进行替代吗?

时间:2026-01-27 09:41:40 点击:283 次 来源:洛阳普瑞斯轴承

工业4.0时代,设备精度决定胜负。生产线卡顿、机器人偏差?问题往往出在轴承。洛阳普瑞斯轴承的RAU1005交叉滚子轴承,以超薄高刚性、低摩擦设计,成为精密传动的“隐形英雄”。

核心规格:小身材,大能量

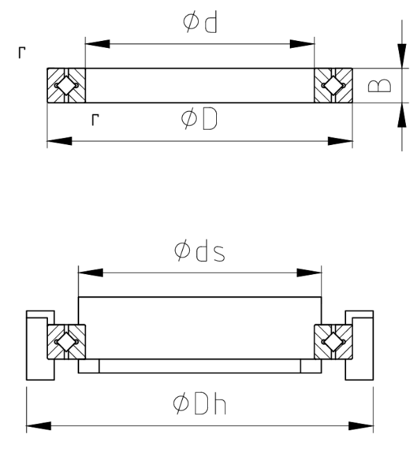
- **尺寸**:内径10mm × 外径21mm × 宽5mm

- **载荷**:动载1.12kN,静载0.809kN

- **精度**:P5/P4级,游隙2-10μm

- **摩擦**:低

三大优势

1. **高刚性**:振动环境精度不丢,故障率↓25%

2. **低摩擦**:预润滑,长寿环保

3. **易安装**:一体化设计,兼容性强,性价比高

应用场景

- 工业机器人关节

- 医疗CT转台

- 航空轻量化驱动